Review Article
Creative Commons, CC-BY
Example of Technogenic Interpretation of Natural Processes Inducing Conditions for Virus Disintegration in Human
*Corresponding author: Sidorov Evgeny Pavlovich, Deputy Director for Research and Technology, Agrostroyservis Research and Production Association, Dzerzhinsk, Russia.
Received: November 22, 2023; Published: December 06, 2023
DOI: 10.34297/AJBSR.2023.20.002757
Abstract
The article offers a scientific explanation of recovery of viral diseases while in the healing drift of Noderfauer mine (Germany). We claim that the air medium within the cave and the structure of water in the spring are subject to stochastic electromagnetic field generated by accumulated electrical force from different sources. It includes the shift of dislocations in the field of high mechanic stress; in the emission of exoelectrons, as well as oscillating movement of electrically charged “banks” of cracks, etc. At that, biological recuperation and recombination of air and spring water molecules and ions, with release of ion-molecular complexes. These formations are dipoles in electret state and, unrestricted in time, generate an electric field. In a cave, patients accumulate nanodipoles in the organism nasally, bringing high quantum of electric energy directly to the water molecules of the virus. Under electric charges, the neutral water molecules of the virus become polar, and bonds are broken as a result of critical polarization. The virus dies. Within this concept, we offer the design of structure and equipment that implements, this natural processes of virus destruction.
Keywords: Virus disintegration, Self-organization, Harmonic oscillator, Hydrogen ions, Polar molecules, Resonance of the polarity of bonds
Review
Contact with nature is the cutting edge of any progress, science, mind, common sense, taste, and perfect manners. Nature does not perceive tricks, it is always true; these are people that produce errors and misconceptions.
-Goethe
Nature offers us numerous examples of treating virus and other human diseases by natural self-organization. This process is demonstrated by stochastic development and the impact of dynamic systems inducing hemostasis conditions of the human body by disintegrating viruses. It predominantly includes the formation of healing mineral water with induced conditions for recombination and homeostasis of hydrogen ions. These conditions are generated by natural stochastic regional electromagnetic fields and natural resonances of the dynamics of the outflow of the water sources of mountain streams and old, outdated mines. These abilities of nature are currently recognized by scientists as an unexplained miraculous “phenomenon”. There are two sources of water with signs of hydrogen ions recombination in Europe [800,0], these are: - the spring of Lourdes, the city of Lourdes in France, whose water has the hydrogen index (pH) of 800ppb, 0.8mg/l, and in the village of Nordenau in Germany, Nordenfuer mine, where the pH value in water is 420.0 ppb, 0.42mg/l. You should realize that the total pH value in ordinary tap water is only 0.018 ppb. The hydrogen index is not an indicator of the molecular hydrogen presence in a water volume, but the ratio of Н+ and ОН- ions in water, which are formed during the water dissociation. Therefore, the expression “hydrogen water” is not legitimate enough; this is ion-hydrogen water.
In the cave of Nordenfuer, instruments recorded the following special signs, namely: a pulsating electromagnetic field; the air is about 100% saturated with hydrogen ions; the temperature of air and water is constant at all times of the year and equals 7 degrees Celsius; and the following unexplained properties of water were also recorded: - water is 8.0% lighter than ordinary water and acquires a right-side rotation when it drains (in the northern hemisphere the natural rotation, when water drains, is left-sided). Almost all visitors to the spring, after drinking water in the energy zone, after about five minutes begin to feel the vibrations of the fingertips, as if they were under the influence of a weak electric current.
Dr. Gadeck, chief physician of the Witenberg Oncology Hospital, conducted a study in which he interviewed 515 patients who were receiving comprehensive treatment at the Nordenfuer mine and presented the results in his book The Nordenau Phenomenon. In the outpatient records of patients, he recorded 14 cases of presumed “spontaneous remission”, that is, complete cure of cancer after a stay in the cave. The head physician of the Tommes sanatorium, Hans-Jürgen Steinbrück, conducted a clinical trial with the participation of 200 cave visitors. The following results were obtained: 30% of visitors are completely cured; 28% noted a significant improvement in health; 26% noted certain improvements. Dr. Knapp's researchers, who have studied the spring's water through electrography, have found that the electromagnetic energy emitted by the spring's water is many times greater than that of water taken from the spring near the mine. Japanese microbiologist Professor Shirahata Iiesu conducted a study of water from this spring and made an attempt of man-made production of similar water for long-term storage in various containers. However, in my opinion, without inducing, simultaneously with water drinking, a recombination of its hydrogen ions, the intake of water for treatment purposes is not effective. The efficiency of the treatment properties of water saturated with hydrogen atom ions is reconstructed when electret state is excited in it.
Scientists from the Institute of Theoretical Chemistry (USA, Massachusetts) conducted research and calculations regarding the hydrogen molecule stability. The article The Energy of a Water Molecule explains this problem as follows: “When a hydrogen molecule is formed, two electrons, which until then belonged to two different hydrogen atoms, begin to rotate in a plane perpendicular to the axis connecting the nuclei. During the formation of a covalent chemical bond due to the transition of electrons from one atom to the outer shell of the other, energy is released, which is the affinity energy of the hydrogen atom for the electron, namely 0.72eVx2. At the same time, during bond formation electrons and nuclei approach each other, which leads to a loss of energy. The loss of energy due to the repulsion of nuclei is about 9 eV. That is, the hydrogen molecule cannot be stable in accordance with these values of energies (emission and absorption).” The same conclusion about the instability of all modifications of hydrogen molecules corresponds to the reality existing in the nature of the hydrogen molecule, for example, the ion H+2 of hydrogen molecule. When the ion H+2 of the molecule is formed, there is not a release of energy, but on the contrary, its loss in amount of 167kJ/mol. Thus, according to the calculations of the scientists of the Institute of Theoretical Chemistry, the hydrogen molecule ion is extremely unstable.
Accordingly, when a single electron detaches from a hydrogen molecule, the molecule disintegrates into a hydrogen atom and a proton, which immediately finds a free electron. The described hydrogen molecule formations cannot generate an electret state and, accordingly, cannot have a time of Maxwellian relaxation, which allows the ion-molecular complexes, in the quasi-dipole state, to generate electric and magnetic fields, and allows water saturated with them - to retain a long-term guarantee of durability. Therefore, molecular hydrogen, due to its inertness in terms of electromagnetic field generation and dynamics of structural states, has no possibility to influence homeostasis of the human body. (It preliminarily proves that the so-called hydrogen water poured in any containers does not have effective healing properties). However, in contrast to the hydrogen molecule, ion hydrogen nano-formations in the state of recombination by the stochastic electric magnetic field are designed by nature to perform the role of a technological mechanism in activating metabolism. An example may be taken from the research of Doctor of Biological Sciences, G. A. Garbuzov, namely, the book Hydrogen Ions Cure Cancer. The scientist found out that the absence of electric charges possessed by hydrogen ions stops gas exchange in the lungs. Garbuzov conducted experiments with mice, which were placed in two sealed boxes. One was supplied with room air, and the other was supplied with air with neutralized electrically charged particles. In the control box, the mice felt great, in the second they died, according to his assumption - from oxygen starvation. However, this was due to the absence of conditions for ion-molecular hydrogen complexes formation (recombination). It happens because only complex ions comprised of hydroxonium and hydroxyl hydrate immediately generate an electrostatic field with an intensity of up to 109 V/m. It means that if the electric field exciting ionization of hydrogen and hydroxyl contained in molecule of blood water flow is absent in the external medium, no electrets or ion water dipoles are generated. In 1973, the results of studies on the lifetime existence of the electrostatic field in humans have been published. The revealed effect was called a biological electret effect. This experiment not only confirms the dominant role of hydrogen ions in the normal life of the organism but also, upon closer examination, reveals the mechanism for fulfilling this role. The absence of electric charges is not a diagnosis, but a natural infliction by nature or life circumstances of a situation when the electret state of quasi-dipoles is induced. It precludes the generation of a full-scale process of metabolism. If the electret state of quasi-dipoles is not excited, it is impossible to generate the magnetic-hydrodynamic effect of vortex jet-axis blood water flow by the forces of Lorentz. In addition, it is also impossible to regulate the work of heart, valve opening and closing by the effect of electromagnetic state of hydrogen ion-molecular complexes on the pressure and the speed of blood water flow. And to regulate the recuperation process of water content of the entire human body. The absence of hydrogen ions recombination leads to a complete stop of the process of generating vital organs.
Scientists ET Kulin and IO Kulak [1] (Hayward, USA) developed the scientific concept of the Ionic Theory of the Electret State of Water which describes the evidence base for the molecular mechanism of electret field generation, through which protein molecules carry out vital processes. Scientists have proven that the electret state of water is characterized by the presence of structured water in it, consisting of water clusters, which are liquid crystal conductors, and liquid (free) water. Water clusters are associates of water molecules spontaneously formed due to dipole interaction, orientational polarization and hydrogen bonds. A characteristic feature of water clusters is their large dipole moments, which are formed due to the summation of the values of the electric dipole moments in water clusters. The magnitude and direction of the total dipole moment depends on the ratio of the right and left-handed orientations of the clusters. Due to their ability to electrically polarize, they make turns in external electric and magnetic fields as a single flow of an aqueous solution of blood. Thus, water clusters have the conditions necessary for the formation of an electret state in them.
The electret state is an electrostatic field of generation of the electric charges carried by ion-molecular complexes (IM complexes), consisting of a hydrogen ion (H+) and a water molecule (H2О), called the hydronium ion, as well as IM-complexes consisting of a hydroxyl ion (HO-); and a water molecule called a hydroxide ion. Complex ions are formed in water because of dissociation of the molecules of water into hydrogen and hydroxyl ions, that is, ionization, by absorption of a photon by a water molecule. For a time of the order of 10-13 seconds, the complexes are displaced from each other and interacting with stationary water molecules, form IM-complexes (hydroxonium ion and hydroxide ion) by hydrogen bonds. This pair is a dipole, on the poles of which there are opposite electric charges with an amount of electricity equal to 1.6x10-19 C/cm2, and it creates an electric field at a distance of 0.1nm with a strength equal to 109 V/m. A dipole, a hydroxonium ion - a hydroxide ion is called a water quasi-dipole due to a very large amount of electricity on the poles and the presence of mutual attraction between them as in opposite charges.
A quasi-dipole, while in a stationary state in a water cluster, generates a constant electric field of a dipole configuration. As a result of the electric interaction between the motion of electric current in the IM complexes (quasi-dipoles) and an external magnetic field, including the Earth's magnetic field, the magnetohydrodynamic effect of the Lorentz forces occurs. During the circulation of blood aqueous solution in a blood vessel, its warm molecules appear at the inner wall of the vessel and its cold molecules appear at the axis of the vessel. When water molecules cool down, they emit photons, which are absorbed by an electron or proton encountered on their way, and the process of generating an inertial momentum force takes place, which transforms the linear axial movement of the water molecule by the bound electron. Thus, the photon emission momentum force, which transferred energy to the rotating cluster of masses to maintain the equilibrium average energy of the system (or inertial momentum conservation force) and exactly the force that makes the energy of external environment to circulate in order to deform the energy state of blood water flow subjected to implosive rotation. Thus, blood movement in vessels is “generally” not working, i.e., it does not demand additional mechanical activation (work of the heart as a pump unit). The heart is a kind of “slide valve” transporting the blood water flow, opening and closing valves under blood pressure.
Modern Academic Insights of science are unable to explain the phenomenon of homeostasis of the structure and dynamics of water from the Nordenfuer mine spring. Dr. Gadek wrote: “We're in front of a real phenomenon - it's unnerving.”
We will try to explain this so-called “phenomenon” from the standpoint of modern physics concepts. Scientists of the Institute of Mining Affairs of the Siberian Branch of Russian Academy of Sciences (Novosibirsk) discovered the dynamics of electromagnetic emissions from rocks. This discovery scientifically explains the excitation of pulse electromagnetic oscillations of stochastic fields in the mine cave. During fracturing, rocks and ore bodies emit electromagnetic waves in a wide frequency range. The nature of this phenomenon is associated with the movement of dislocations carrying electric charges in a field of high mechanical stresses. Another source of emission is exoelectrons, (“exo” means external, outside element in an unbound state) which undergo exoelectronic emission. The energy required for exoelectron's escape from cracks is released in the process of an atom (in our case, a hydrogen atom) transition from a weakly bound state to a more bound state on the surface. The oscillatory movements of the charged "banks" of cracks, the interaction of electric charges and the passage of electrons, result in electric currents and formation of stochastic electromagnetic fields. The pulsation of the electromagnetic field in mine workings can be explained by pressure fluctuations in the mine workings, associated with the fluctuation of the mountain pressure (i.e. deviations of a random value from the mean value). As well as with a long relaxation time of resonant manifestations of flowing water with electromagnetic radiation from rocks. When exposed to electromagnetic radiation, energy accumulates in the cluster structure of water up to a value of 500-1,000 times more than the energy of the electromagnetic field. This is the relaxation time and the stopping time of the oscillation pulse of electromagnetic fluctuations.
At the same time, this mine is a shale mine. Typically, the proportion of kerogen in oil shale can reach 30–70 %. This organic, hydrocarbon component of shale produces shale gas the basis of which is usually hydrogen (Н2) from 25 to 40% and methane (СН4) from 14 to 17%. Obviously, the vibrational movements of shale rocks generate the release of pure molecular hydrogen, which undergoes recuperation and recombination under the influence of electromagnetic radiation of the pulsations of electromagnetic field in mine workings, creating micro dipoles of the electret state, which, in turn, interact with water molecules in the direction of creating water clusters. In 2014, American scientists discovered a water cluster in water, which consisted of 21 molecules (-ОН. Н2О) and had a relatively high mechanical strength and high thermal stability. Hydrogen bonds presented by water clusters containing hydronium cations and hydroxyl hydrate anions, which can general electrostatic field without time limitations, produce the ion flow of the mine spring hydrogen water from fractal “tiny energy volumes” that do not disintegrate.
At present, scientists are laying the theoretical foundation for a new direction in the science of the Earth - the rock science. The existence of pendulum-type waves and their material carriers from nano-submolecular size to fractal materials, commensurate with the size of rocks, was discovered. The scientist of the Institute of Rocks, V. N. Oparin derived by mathematical way the coefficient of mechanical-electromagnetic transformations, which being applied to the proposed formula helps calculating the accumulated and radiated electromagnetic energy of a rock formation. Obviously, the values of indicators of the electromagnetic field induced by the electromagnetic radiation of the Nordenfuer mine rocks, as well as its frequency of the periodic oscillator, enter into resonance with the electric charges of the water ion-molecular complexes and, thus, the hydrogen ionization energy is generated by breaking the bond between the hydrogen and hydroxyl in the water molecule. As a result of this process, recombination and homeostasis of hydrogen ions occurs and the electret state of the quasi-dipole is induced.
As we noted earlier, the electret state of the human physiological fluid (including the blood water flow as an electrolyte) is characterized by a long-term generation of a relatively strong electric field. Electret field strength reaches 108 V/m, and its generation may take up several months. The carriers of these charges in water clusters are ion-molecular complexes forming an electric field with a dipole configuration. At the same time, nano-electrets generate a strong electrostatic field in macro electrets and their surrounding space. A macro electret may generate an electret field without time limitations with an orderly arrangement of nano-electrets in it. In this case there is a constant emission of photons by electrons on the partition of the physiological tissue fluid and the environment and the environment - air, which is 100 % saturated with ion-molecular water formations. In addition, these photons absorb the electrons of air nano-electrets. When photons are jointly emitted and absorbed, in order to maintain the equilibrium average energy of the system, an inertial momentum force is generated, which transforms and condenses the electric potentials in these electrons. Dr. Sci. in Physics and Mathematics, FM Kanarev [2] characterized the appearance of sparking and crackling on the finger tips: “This force creates conditions for the formation of clusters of electrons by connecting their opposite magnetic poles, the process is accompanied by the emission of photons observed during the formation of an electric spark. The crackle accompanying this process is a consequence of the rapid formation of the electron cluster and the simultaneous emission of photons by all of its electrons. The reason for the crackling is the excess size of the photons emitted by the electrons. They are five orders of size larger than the size of the electrons themselves.”
Scientists found out that a characteristic feature of the electret field generation mechanism is its temperature dependence. When the temperature changes, the direction of the electric field flow changes. We know that individual ions, dipoles and quasi-dipoles of hydrogen, moving in the water flow in an external electromagnetic field are affected by the Lorentz force, which twists their trajectory into a spiral and excites the spiral-axial rotation of the water flow. And a change in the flow direction of electric current changes the direction of rotation. A scientist from the USA E Kulin [1] published in his article entitled Ionic Theory of the Electret State of Water the results of his study of the generation of a long-term electrostatic field by a thermally stimulated current of the electret state of structured water. It follows from his research that a change in temperature can thermally stimulate the direction of an electric current movement. And this induces a certain direction of the dipoles movement. If we “descend” to the level of the dynamic structure of atoms and molecules, namely, the structural units of the electrons and positrons motion, we will see that the processes involve not hydrogen molecules, but hydrogen Benard vortices. Water molecules must obey the rules set by the Benard vortex. That is, along the internal flow of the vortex, they must move upward with one direction of rotation, and they must move with the opposite direction of rotation along the outer flow of the vortex.
The ortho or para modification of water molecules correspond to the internal and external flow. Each temperature has its own equilibrium concentration of water vortices in the ortho and para modifications and, accordingly, preferred direction of rotation of the water cluster. All driving forces acting at the level of matter are initiated by transformations occurring in the microcosm of molecules, atoms and elementary particles and are subject to the laws of quantum mechanics. All structural elements of the macro and microworld have a homogeneous essence and differ only in the degree of compaction, which allows the researcher to present during experiments the probability degree of indicators and refer them to the calculated units of the micro or macrocosm. In reality, the concentration of para and ortho modifications of water molecules depends on the complex of external forces affecting the state of water, as well as on the shape and size of the transporting devices of its flow. These are both tangential forces of precession (friction-sliding forces, arising between the contacting layers of Benard vortices) and the forces of electromagnetic action of ion-molecular dipoles. An example is the processes occurring in the Laval nozzle. In the converging cone of the nozzle, Benard vortices of the right rotation direction are formed, moving in the direction of the flow. In the diverging cone of the nozzle, the left direction of movement is induced. Therefore, Benard vortices with the right direction of rotation, falling into the diverging cone of the nozzle, are rearranged to the left direction of rotation, inducing a turbulent spray at the exhaust of the tube and vice versa. Obviously, similar flow conditions of the mine's water spring affect the change in the direction of rotation of the jet flow.
Physicists have a legend, which is confirmed by calculations that during the existence of the Sun, the electrons of the atoms of its chemical elements emitted light photons, the mass of which is equal to the mass of the modern Sun. Electrons of the hydrogen atom, when ionized, emit, and absorb photons of the relic range. The mass of one such photon in motion is presumably equal to 6х10-16 eV (from the point of view of classical quantum mechanics, a photon, as a quantum particle, is characterized by a wave-particle dualism, it exhibits both the properties of a particle and a wave). Since a photon has a mass in motion, it also has a center of mass, that is, a point to which the entire mass of a photon can be reduced, and the movement of this point will characterize the movement of photons. The wave properties of a photon indicate that this point (center of mass) describes a wave trajectory. And this confirms the corpuscular-wave dualism of photons. Since a photon has a mass and an electromagnetic nature, we have the opportunity to assume that the photon's mass is formed by its electromagnetic fields. Therefore, at the moment of emission of each photon, the electron loses energy, which was transformed within the electron as energy-mass, and the substance, respectively, loses a mass adequate to 6х10-16 eV. The relaxation time of radiation-absorption of photon will, presumably, be equal to 9.0x10-13 s. It is quite obvious that a part of photons will fly through the boundary of water flow and will be absorbed by electrons of hydrogen atoms, which are in the environment, in the air. Thus, there is a process of formation and recombination of hydrogen ions and saturation of the surrounding air with them and with hydronium ions, as well as the formation of hydroxyl hydrates with a solid state of the hydration shell. With a sufficiently high photon energy, the formation of new hydrogen atoms becomes possible, which occurs during the formation of an electron-positron pair. In this case, the photon is absorbed by the field of the nucleus (proton), and an electron and a positron are born. Thus, saturation with hydrogen ions, atoms, ion-molecular dipoles, as well as hydrated nano-formations occurs in the air of the cave. ET Kulin [1] described this phenomenon as follows: “In the spherical zone around the formed complex ions, an electrostatic field is instantly established, intensity of which at a distance of 0.1nm from the elementary electric charge of a pair of unlike complex ions, representing a dipole, will be about 109V/m and will decrease inversely proportional to the second power with increasing distance.” This electromagnetic state of the ion-molecular structures of the hydronium ion and the hydroxyl ion is generated by a very large amount of electricity and, accordingly, attraction to each other. Therefore, they appear in a single bundle as a quasi-dipole and are in a free state in the surrounding space and are not affected by the magnetic field of other hydration complexes of water. The lines of force of the electromagnetic field are induced by the electric potentials of hydroxyl hydrate, (ОН*Н2О) and hydronium cation (+H*Н2О) and form a hydrate cluster.
With a fair degree of certainty, it can be argued that the photons emitted by the hydrogen electrons of the water molecules from the spring are subsequently absorbed by the electrons of the ion-molecular complexes, which are in a state of saturation in the surrounding air of the cave. And, leaving the water molecule during relaxation, (their lifetime), they contribute to a decrease in the density index of individual structural nano-formations of the spring water. Accordingly, in response to the filling of the intersection volume of set theory, a decrease in the specific gravity of the fractal integrity of the water flow from the water spring is generated. In our case, with the given indicators of electromagnetic fields, air saturation with hydroxyl hydrates and electric charges of the electret state of ion-molecular complexes of the spring water flow, this indicator is 8% of the normal value of the specific gravity of water.
The offered concept of saturation of the air of a closed mine cave with hydrogen ions by their recombination in stochastic and induced by a complex resonance internal and external electromagnetic field, is a theoretically provable theoretical proof from the point of view of modern physics. And reducing the specific gravity of the source water by emitting photons by the electrons of the source water molecules and absorbing them by the electrons of the ion-molecule complexes that are in the air of the cave saturated with them seems to be quite a real process.
The process of the human body saturation with hydrogen ions occurs as follows. Ion-molecular hydrogen hydrates, together with the inhaled air, penetrate through the alveoli into the capillaries, and from there into the pleural fluid. In a healthy person, each breath forms and resorbs 10–15 liters of pleural fluid (within 24 hours). Out of them, 19–20ml remain in the pleural cavity to renew the existing fluid. The system is supplied with fluid in the parietal pleura by capillaries from the vessels of the intercostal and diaphragmatic arteries of the systemic circulation. Then, the pleural fluid is transported by the pulmonary lymphatic capillaries to the diaphragmatic part of the lung, where it undergoes reabsorption and simultaneous recombination of hydrogen ions that came with air by the vessels of the pulmonary circulation in the visceral pleura. Here, an aqueous solution of blood is used by the body as a “building material” to create a solution of the blood water flow by saturation with chemical elements necessary for metabolism. It is in this area of blood vessels that the water component of the blood is split by the forces of implosion of rotating internal ion-molecular hydrates, as well as quasi-dipoles brought in from the surrounding air environment. During this period of relaxation, there is a distribution of the new energy of the environment of the nano-elements of the structure of the blood water flow, introduced by electrets. This energy generates renewal and it’s bringing to the original state of quality, due to the energetic interaction of electrons of hydrogen and water molecules, by radiation-absorption of photons or, in the general case, homeostasis and treatment of diseases. Just like oxygen-ferrous hydrates, hydrates of hydronium cation and hydroxyl hydrates are transported in the blood water flow, which is an electrolyte, by Lorentz forces, due to the magneto-hydrodynamic effect of the appearance of a vortex helical jet-axial motion. Hydrates (hidratos de hidrocarburos geseoses) are inclusions (clathrates) in which molecules of hydrocarbon gases and oxygen not exceeding 0.69nm in size fill the structural voids of the crystal lattice formed by water molecules.
This incorporation of hydrates is characteristic of the mechanical bond of molecules and their ions in the crystal lattice of water clusters and does not always require absorption and release of energy during the rupture and synthesis of this compound. Such state of hydrates stabilizes their movement in the blood water flow.
The issue on the nature of hydrates was presented by a German physiologist, Kessel, who, following the results of research, developed an electrostatic theory of the chemical compounds structure. This theory makes it possible to explain the attraction of water molecules to hydrogen ions with a large charge and a small volume during the formation of hydrates and their "clouds" of water molecules, entrained by the ion during its movement in an electric field by the forces of orientational polarization. Thus, the initiation of movement of blood and cellular and intercellular solutions, as well as their penetration through epithelia and endothelium, is carried out by the electrostatic attraction of all molecules of Н2О by ion-hydrate in a given flow of solution (including blood). Penetration of hydrate, with a “cloud” of water molecules, into the volumes of other cells adjacent to the cell solution can lead to conditioning of oscillating resonance of blood aqueous solution molecules and virus water molecules. However, the transport of chemical elements and compounds formed as a result of chemical compounds metabolism is carried out in the same way.
Along with electrostatic interactions, dipole-dipole interactions arise between the ions of the solution and the dipoles of the solvent. As Born showed, the electric force field of ions orients water molecules, which are dipoles, so that they turn their positive ends of hydrogen (H) to negative ions. Therefore, there is an electrostatic attraction between the ions and water dipoles, which creates an "atmosphere" around the ion of water molecules, entrained by the ion when it moves in an electric field. At the same time, there is a magneto-hydrodynamic effect of Lorentz forces in the blood flow, which is an electrolyte, an effect bringing the ion and the "atmosphere" of molecules into rotational axial motion in the direction determined by the left hand rule. Under natural conditions, there is an ordered movement of ion-molecular dipoles in the magnetic stochastic field of the surrounding space with water molecules dissociation corresponding to the recombination of hydrogen ions in the course of the normal metabolic process. The introduced complex ions (dipoles) have an increased electric charge, which generates a blood water flow in the vessels in the form of a vortex, and a critical, for the destruction of molecules, speed of motion. From the standpoint of electrodynamics, it is necessary to speak not about the Lorentz force, but about the momentum of forces. These are all the Lorentz forces that do the work of bringing complex ions in a water cluster with water molecules, into a vortex jet motion. These are both stochastic and technogenic electromagnetic fields in a state of resonance, and tangential forces of precession of vortex rotation of the blood water flow, in a state of implosion, and many other forces. All these forces can be generated, being brought into the blood, from molecules and atoms of hydrogen and water ionized in the spring, which are in the form of ion-molecular water clusters-hydrates in the electret, highly electro-charged state of dipoles, in the surrounding air of the mine cave.
At the same time, in all cells and other, limited by shells, capacitive volumes of an aqueous solution of the human body, nanoparticles of water are in a state of vortex rotation of a stationary source in the form of Benard vortices and are characterized by the dynamics of movement of the elements of ortho and para hydrogen modification. Their axial movement is limited by the forces of attraction and repulsion of the external and internal flows of para and ortho states of hydrogen molecules in interaction with the positrons of the nucleus. The introduction of ion-hydrogen clusters enriched with the ion recombination energy in the electromagnetic field of the mine generates an intensification of the process of harmonic energy-mass fluctuation. As we noted earlier, treatment of diseases with “living water” is possible when its structure is brought to a state where it contains 25% para and 75% ortho hydrogen. And this can be achieved only by increasing the level of fractality of the water molecule structure in the direction of equilibrium of hydrogen para and ortho modifications established by nature. Therefore, if the harmonious fluctuations of fractality have sufficient electromagnetic strength to keep the energy-mass in equilibrium or to act towards restoring the lost balance (healing), then as a result of self-organization, a “healthy” way of vital functioning of the human body is provided. However, if energy efforts of self-organization are not enough, they will not be able to generate sufficient values of stochastic resonance of electromagnetic field and harmonious oscillations. In this case, the system should be boosted with hydrogen recombination energy.
Naturally, a question arises: how to induce the necessary level of combination and intersection of a lot of fractals to comply with the terms of resonance of virus water molecule oscillator and the introduced ion-hydrogen hydrates oscillator. No matter how hard we try, all biological systems (to a greater or lesser extent) are in the state of stochastic movement (oscillations) of deterministic dynamic systems, whose final states only randomly and not uniquely depend on inputs and are not uniquely defined by the control actions applied to it. Therefore, no wonder that scientists cannot create a universal vaccine, for example, from the virus of Covid-19. Scholars of the Volgograd State Medical University tried to explain in their works, in the form of discussion, the way the theory of chaos discovered recently, which was used for complicated biological and natural processes, is applied in medicine during the work with stochastic systems. Chaotic movement have the fractal features of both regularity and stochasticity. It should be noted that any chaotic movement is to a certain extent regular, has certain time patterns and space structure. In our case, it is the harmonic oscillator for our resonating biological systems which is the “rigid” axle of the system's stable equilibrium position. The scholars revealed the most important aspect of the theory of chaos in medicine: “the body of a healthy person is a complex chaotic system, while the organism of a sick person, on the contrary, is strictly ordered". A I Krayushkin and his colleagues state: “Ironically, a simple dynamics indicates an illness, while a complicated (chaotic) dynamics is synonymous to health. An illness removes complication, and increasing orderliness brings our body closer to a loss of movement and stoppage of life”. The study and application of the theory of chaos allow seeing the position of prognosis, scientific methods of searching the efficient treatment options, and understanding the nature of things or the cause-and-effect relationship of vital functioning phenomena of a human being. It allows concluding that in order to disintegrate virus, to order the state of its molecular structure to the level of non-polarity. It will turn it into a neutral entity not charged with electric current, hence, no vital functioning. However, in practice it is virtually impossible as the water molecules that make up the virus have a high degree of polarity.
Chaotic movement of media or power fields is very widespread in nature. It is the explanation of virus disintegration in Nordenfuer drift. This development direction of dynamic systems is called self-organization. It implies formation of structures stable towards the changing environment and structures capable of generating the determinism in the surrounding dynamic biological systems through the influence of their harmonic oscillator. For example, it is true for ion-molecular complexes formed as a result of electrolytic water molecule dissociation by immediate (10-9с) attachment of hydrogen cation (+Н) and hydroxyl anion (-ОН) to the closest water molecules. Ion-molecular complex or ion dipole is a dynamic supramolecular structure in a solid hydrate shell with inherent long-term (2х10-5с) generation of a strong electric field capable of maintaining a harmonic oscillator of its own oscillations and oscillations of adjacent environment. The science assuming the omnipresence of chaos unites a number of crucial disciplines of modern science, which physicists call nonlinear science, in particular, explaining the stochastic oscillations of the connected non-linear oscillators. They can include a natural mode of movement of biological elements in the human body that consist of water molecules. All the water biological formations of an original organism have unambiguous indicators complying with the “collection” of the settled structural elements and energy-mass content, which are repeated but differ in terms of micro oscillations of a harmonic oscillator of the degree of ionicity of a chemical bond, which are caused by micro oscillations of bond polarity. Level of bond ionicity indicates the shift of symmetry center of an electronic cloud from the middle of interatomic distance to one of the neighbor atoms. For binary molecules, this value is characterized by differences of electronegativity of component atoms according to the scale of Linus Pauling.
A virus introduced into the human body is formed by molenization from water molecules by recombination of a free hydronium ion and hydroxide hydrate anion. For this reason the molecules of water it consists of have the harmonic oscillator identical to the biological elements of a human body. Hence, the individual molecules of virus water are subject to resonance. Depending on the distribution of electronic density in the space around nuclei compared to its distribution in neutral atoms, molecules may be polar or non-polar. In non-polar molecules, the centers of gravity of positive and negative charges are the same. Polar molecules are dipoles, i.e., systems made up of two charges equal in value but opposite in direction (+q and -q) at a certain distance from each another. Water molecule is polar as the O-H bonds dipole moments do not compensate each other, and the dipole electric moment is equal: М (Н2О) =0.61х10-29 C/m. Under the action of external electric field and under the influence on the molecule of other molecules (say, reaction partners) or the electrostatic field of ion-molecule dipoles (quasi-dipoles) brought by the emulsion introduced by the emulsion, a molecule can acquire the ability to become more polar. As a result of highly polar distribution of electronic density, a total bond break may occur. Electron pair migrates to one of the atoms forming a negative hydroxyl anion and a positive ion - hydrogen cation. As we have already mentioned, when analyzing the electret ion theory by ET Kulin, these ions form hydrates: hydronium ion and hydroxyl hydrate. Then, due to mutual attraction, they unite into an ion dipole which, as a result of elements recombination, is transformed into three electrically neutral water molecules. This releases electrostatic energy. It is absorbed by one of the molecules of ion dipole. It leads to formation of free ions of hydrogen and hydroxyl, which are further engaged in the formation of an ion dipole. Hence, there is an oscillating movement of the state of structure of water molecules of all the biological water-containing components of a human organism, including virus. Cation and anion pairs are formed and disintegratedd within 2х10-5 seconds. Consequently, two hundred thousand cation-anion pairs per second are formed and disintegrated in an ion dipole.
Thus, this phenomenon defines the frequency of oscillations of electromagnetic filed of a water molecule in the magnetic field surrounding it with the equal distribution of energy of this field. This state corresponds to a healthy vital functioning of a human body and the organism of a virus. One can make the following conclusion: water molecules ionization mechanism in a magnetic field with equal energy distribution from the external electromagnetic field contributes only to the maintenance of a healthy human body and the virus in the mode planned by nature, and metabolism of the original state of human Universe. And in order to create the conditions for disintegration of a virus or other biological entities, one shall induce additional ionization of water molecules, including the resonance of electromagnetic processes. They include: electromagnetic field energy concentration in separate areas of interaction of natural frequencies of water molecules of living organisms. This state can be achieved in blood vessels with the vessel section and linear speed of blood flow cortspond to the product of vessel radius and the flow speed in meters, equal to 5.8х10-5 m2/s, as well as ionization mechanism of water molecules in the human magnetic field with interference of magnetic coherent waves. To disintegrate the molecular structure of the virus, the author offers to reconstruct these and other processes of forced ionization of virus water molecules by generating the additional energy of the human body's water composition. For this purpose, we offer the introduction of an emulsion directly to the virus, with the energy content able to trigger the critical ionization mechanism. We offer a nasal route of emulsion introduction.
We have already mentioned that the total bond break in the water molecule may result from its critical polarization by the action on the molecule of other molecules with higher dipole moment. To transfer the emulsion molecules via a lipid membrane in the virus water molecule, the project uses the process of sonoporation. Sonoporation is formation of pores in the virus membrane from the cavitation shock wave initiated by the action of ultrasound. To do this, an ultrasonic acoustic reactor is built into the emulsion preparation circuit. The key event in the process is formation of cavities filled with water vapor molecules, which are subject to strong diabatic compression. Under high pressure, the cavity collapses, and the vapor condenses at the phase boundary. After the collapse, a spherical shock wave runs through the water medium. The process of creation of cavitation bubbles is a chain reaction. This is why, for example, getting into the blood water flow, cavitation bubbles, in response to the shock wave model, move and cyclically create new collapsing bubbles at the compression stage of those ahead of them. The scholars proved that a source of the shock wave is plasma with the density of 10g/cm-3 and the temperature up to 10 keV. At the same time, as bubbles are deformed in the acoustic field, an electric field is generated facilitating the redistribution of electron density and formation of immediate microdipole oscillations. Hence, there is a critical degree of polarization and heterolithical bond breaking with the formation of oppositely charged ions. Porosity in membranes caused by ultrasound is an efficient way of transferring the electrically charged molecules, which can be regarded as a set of microdipoles very rapidly changing their charge magnitude.
Scientists of the Sarov Physics and Technology Institute of the National Research Nuclear University MEPhI V A Borisenok and S Y Sedov have provided theoretical proofs that at the last stage of bubble compression, a zone with high electric field intensity is formed near its wall. At the same time, a high pressure zone with a large gradient is formed around the collapsing bubble. Shock-wave compression experiments revealed that almost all the molecules (about 1011) at the final stage of collapsing lasting for the period of orientation relaxation are distributed in the volume in accordance with the created density gradient and will maintain the set direction, i.e., form a “cloud” of oriented molecules. This chemical phenomenon defines the chain reaction of their formation. The above allows to conclude that the use of ultrasonic acoustic reactor helps solving the sonoporation tasks and tasks of delivery of an electric quantum of energy by dipoles for this method of bonds ionization to the virus water molecule.
The original state of Universe of biological entities, including the human and viruses, is of stochastic resonance induced by simultaneous external impact of chaotic and weak periodic signal of predetermined capacity. This state is inherent to the healthy way of life of a human and a virus in an electromagnetic field with equal distribution of the external field energy. It means that at the frequency of oscillations of biological molecular microdipoles equal to two hundred thousand per second, the human and the virus are in a state of normal metabolism. Thus, it can be stated that the water molecules of the introduced emulsion and virus water molecules that are in microdipole state at the same time, relate to biological entities that produce stochastic oscillations of two connected non-linear oscillators. Under the equally distributed stochastic electromagnetic field, a virus is integrated into an oscillating circuit of a human body, and its oscillator builds a bond with the non-linear oscillator of the media. In our case, the stochasticity and non-linearity of oscillations is defined by the dependency of the internal processes. The difference between the natural oscillation frequency of a virus and the natural frequency of a water emulsion under the external impact is specifically expressed only by a sum of electronegativity.
However, it should be mentioned that biharmonic excitation of Connected Non-Linear Oscillators (CNLOs) by the external exciting force leads to higher uniformity of the energy spectrum of oscillating systems. As it has already been said, both a virus and a human organism are the sources of oscillations of connected non-linear oscillators. This phenomenon allows the virus to integrate into the vital functions of a human organism and “live” in it as the original biological element due to the fact that, in this case, via a bond of two or several CNLOs, the virus structure will be impacted in terms of excitation of stochastic oscillations with the frequency of a harmonic oscillator. Thus, the project implies the introduction of the external exciting force nasally, allowing for a direct effect on water microdipoles of a viru Currently, scientists from all over the world began studying the vital functioning of biological entities using the achievements of modern physics to the extent of Universe energy structure. Only in cooperation of physicists and medical scientists is it possible to establish a cause-and-effect relationship of the processes occurring in the human body. For example, scientists at the Pittsburgh School of Medicine have isolated the smallest molecule to date that completely and specifically neutralizes the SARS-CoV-2 virus, which is the cause of COVID-19, and registered it under the symbol Ab8. D. Dimitrov, Ph.D., and his team tested Ab8 using the live SARS-CoV-2 virus in mice with the result of complete blocking of virus penetration into cells. Researchers at the University of British Columbia, in UPMC, LIFE CHANGING MEDICINE, made it clear that they have discovered a unique way of so effective virus neutralization by Ab8, which is based on the use of sophisticated electron microscopic methods.
This scientific work of University researchers, in my opinion, indicates the development of the concept of influencing on a virus by biological entities having identical degree of ionic bonding and value of relative electronegativity, in order to induce resonance of fluctuations of virus microdipoles by fluctuations of stochastic natural or generated anthropogenic electromagnetic field.
In conclusion, it shall be noted that nasal introduction of drugs used in this project to deliver the energy-charged emulsion has for the recent years been used by doctors to administer drugs of systemic effect. It has been revealed that with nasal route, the majority of drugs are absorbed in blood, and a smaller part is delivered by perineurial transport via sensory nerves right into the brain via the olfactory tract neurons, and then distributed via the brain structures using mechanisms not related to flood flow. Thus, one can state: “Nasal route - dimes to doughnuts.
Physically, human cell and virus cell vital functioning is represented by processes of reasonable molecular motion. Any molecule is a dynamic system in which vibrations of nuclei, movement of electrons, interaction of atoms in a harmonious oscillator system occur continuously. A molecule can be considered as a set of microdipoles changing very rapidly their magnitude and direction. This is caused by micro-fluctuations in the molecular system of electrically charged particles. Biological entities have a homogeneous chemical component of the body structure and this is water. Therefore, it is natural that we need to consider the interaction of ions formed during the dissociation of water molecules. It is known that the effect of the electrons movement is as if "smeared" in space (in a fur coat), between nuclei connected to form a molecule by a common electron pair, which leads to a vibrational displacement of the pair due to a change in the electric charge of the system. During the boundary action of a stochastic electromagnetic field, the harmonic oscillator restrains the fluctuation of oscillations around the mean value. Accordingly, the value of the oscillation frequency for the effective charge on atoms, or the ionicity of the bond, corresponds to the sufficiency of mutual attraction in the electron-positron pair. In the case when atomic formations with a large, relative to the existing, electric charge enter a chemical compound, a new polarity of chemical elements is induced, and the old one is destroyed into individual atoms and ions (for example, in water). This creates new electron pairs with a higher dipole moment. Old chemical elements dissociate into free particles and new ones are built from them, already corresponding to the oscillator of healthy biological entity vibrations. A similar result also occurs when a magnetic moment, anomalous for ionic bonding, is induced. The effect of a stochastic electromagnetic field on the hemostasis of the human body is built in nature on this principle by destroying the ionic bonds of various viral formations, an oscillator, which is disturbed by the average value of the general, balanced micro-fluctuations of the biological system induced by the human body.
The theory of micro-fluctuations of the bonds ionicity is consistent with the discovery of previously unknown nanoparticles of water by the US scientist ET Kulin [1]. Namely: ionic dipoles of water. These particles consist of two water clusters, one of which contains a hydrogen cation (H+), and the other contains a hydroxyl anion (HO-). These ions instantly (10-9s) attach to the nearest water molecules, resulting in the formation of hydrates: +Н*Н2О, hydronium ion and -ОН*Н2О, hydroxyl hydrate. It is quite obvious that ionic bonds are created through the formation of common electron pairs during the formation of a hydrate. Therefore, all the regularities associated with the value of the relative electronegativity are embedded in the dynamic structure of the ionic dipoles of water. The duration of formation of hydronium ions and hydroxide ions is about 10-13 s. Hence, they can also be considered as an accumulation of micro dipoles changing very rapidly in magnitude and direction. In a spherical zone, around the formed hydronium and hydroxyl ions, an electrostatic field of high intensity is instantly established. And this pair of unlike ions is an electric dipole with a very high value of elementary charges. It should be noted that the measure of sufficiency for the application of the level of efforts for a stochastic electromagnetic field or ultrasonic vibrations shall correspond to the threshold of bond polarization critical level. It is quite obvious that the directed impact on the human body by a technogenic electromagnetic field or ultrasound does not correspond to the safety of vital functioning (recall the Philadelphia experiment, the Rainbow project when the participants burnt alive under the impact of high voltage electromagnetic field. Burning was caused by increased temperature impacted by electrostatic current of macrodipole oscillations in electret state). In this project, the impact on the virus structure and further conditioning of hydrogen ionization and hydroxyl of water molecules of virus is projected by inhaling a prepared ion-dipole emulsion of ion hydroxide and hydronium ion processed in ultrasound reactor and in stochastic electromagnetic field with the simultaneous introduction of molecular hydrogen. X This method allows to technically introduce an electric pulse directly to water molecules of the virus and reach a critical level of bond polarization.
It has been experimentally established that liquid water under the influence of a technogenic electrostatic field with a strength of 105 V/m turns into a solid state, from which it follows that water in a spherical zone around an ion dipole is in a solid state and acquires solid-state hydration shells, whose structure and properties are similar to the structure and properties of bound water. Water clusters in water structure were revealed by scientists from the USA. These clusters can move in aqueous solutions of a human organism without getting disintegrated, including the blood water flow, carrying with them the charged hydrogen ions into all the "tiny water volumes" of a human. US scientists have discovered a unique property of an ionic dipole: it is its time-unlimited generation of an electrostatic field, which is carried out in the process of hydrogen ions recombination.
Thus, when the electric field value becomes sufficient to continue the process of destruction and renewal of the virus structure, the pathogenicity of the viral infection begins. It should be taken into account that the causal relationship between the formation and destruction of the hydroxide ion and the hydronium ion is due to the laws of micro-fluctuations of the polarity of the chemical bond, and ionization and destruction of the ionic bond occurs when the resonance of these micro-fluctuations is induced with the frequency and amplitude of the oscillator of the virus water molecule. As we have considered earlier, dipole moments appear in polar molecules (including the excited water molecules). For this reason, these molecules can be considered macrodipoles with a certain value of oscillations, amplitude, and frequency. When dipoles of different polarity meet, electromagnetic energy is introduced into a dipole of a lower polarity level and, accordingly, resonance conditions: - equality of the amplitude and frequency of micro-fluctuations, are induced. As a result of resonance, ionization and destruction of ionic bonds occurs, which leads to the disintegration of the virus water molecules into free chemical elements of an already original quality. Out of these elements, human body synthesizes new chemical compounds. Disintegration level depends on the degree of fractal saturation of the working emulsion with quasi-dipoles in electret state. In one second, 1013 degrees of quasi-dipoles are formed. Researchers from Germany led by Christian Dorsten, (Klinik Charite, Berlin) and Dr. Clemens Wendtner (Klinik Schwabing. Munich) performed a detailed virological analysis of patients with relatively mild symptoms of COVID-19. Analyzes showed the presence of large amounts of the virus in the upper respiratory tract during the first week after the onset of symptoms (with a peak around the 4th day), namely, 7.11x108 copies of RNA. The number of virus water molecules in 5 liters of an aqueous solution of blood of a human equals about 7.5x1020 molecules. If one agrees that under the stochastic electromagnetic field the water molecules of the virus also acquire a microdipole state, they meet the quasi-dipoles of the emulsion and undergo resonance.
Thus, as a result of biological recombination by the forces of a stochastic electromagnetic field within the boundaries of a harmonious oscillator, nature carries out the recovery of the human body, using the resonance of the polarity of chemical bonds. An example is the creation of conditions for hemostasis in natural formations, such as in the Nordenfuer Mine (Germany). Based on the knowledge acquired in studying the processes in the drift, we have developed a design of a technogenic structure consisting of 5 operation blocks.
The Operation Block Operates in the Following Manner
Operation emulsion for inhalation is generated in the inhalation block space after the treatment in the operation chamber in the following way. Water purified from the suspended particles and other micro pollutions (preferably from a spring coming out to the surface of soil or melted glacier water) is pumped via a device for magnetic treatment of fluid, pos. 13, to the operation blocks. The part of the water flow after the processing the electron excitation of water molecules is fed to the system of a water tank for drinking purposes. After filling the reaction chamber (the level is regulated by the level switch, pos. 26, by controlling the electromagnetic valve, pos. 27), water by means of the pump, pos. 18, is delivered and pumped through the ultrasonic reactor D-80, pos. 17. In the reactor, the water undergoes cavitation treatment by ultrasound fields (see the description of processes in the text of the project).
From the reactor, water flows to ejector pos. 10. The ejector also receives a gas mixture of hydrogen and air from the air flow amplifier EXAIR pos. 12. At that, gas flow rate and hydrogen concentration is regulated by a pre-set pressure value of hydrogen coming in the amplifier, and by setting regulating devices of the amplifier. In the ejector, the gas mixture of hydrogen and air is mixed with the primary original water emulsion in cavitation state (see the description of physical processes in the sections of the project). The mixture obtained in the ejector in the state of nano-bubbles is mixed with the primary emulsion, which, over time, is formed in the operating chamber and, having got the form of secondary emulsion, enters the water mist emulsion unit. This device disperses the emulsion mist via nozzles to the space of the block for nasal administration to the human organism (For transport and action of energy elements of the emulsion see the text).
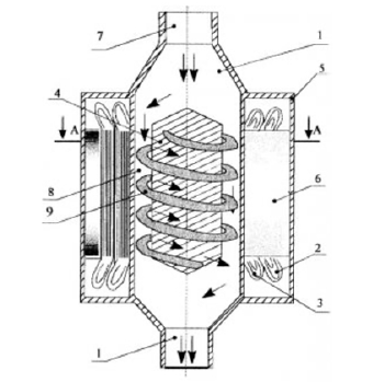
Design and Mechanism of the Operation Block
(Figure 1)
Figure 1: The operational block for the induction of resonance conditions of micro-oscillations of biological elements having the same degree of chemical bonds ionicity on the scale of relative electronegativity of Linus Carl Pauling.
a) Floor fan Umnitsa (smart cookie) HLB-15C, with air cooling function.
b) Bimetal ribbed ventilation pipe.
c) Building structure of the "Sphere" block (architecture by S. Vikharev).
d) A table equipped with three taps for pouring water subjected to magnetic treatment in a magnetic water treatment unit of the flow-through type designed by B. L. Aleksandrov.
e) Special taps with a valve device for supplying a jet of water.
f) Water mist unit ULTRA FOG FG-200 with 50 spray nozzles.
g) Fifty spray nozzles for water mist of the FG-200.
h) Pipeline supplying the finished dispersed, magnetically treated, hydrogen ion-rich aqueous emulsion into the reaction chamber.
i) Pipeline for supplying water treated in Aleksandrov electromagnetic device to the taps for pouring into drinking devices.
j) KORTING mixing ejector.
k) Solenoid valve BRA-04, HO, direct acting, made of stainless steel.
l) Air amplifier with EXAIR air flow regulator BP 6040.
m) Device for magnetic treatment of liquids with a controlled rectifier (Patent RU 2136606).
n) Pipeline for supplying spring or melt water to the reaction chamber for treatment.
o) Pipeline for compressed hydrogen supply to the ejector
p) kORTING for mixing with atmospheric air and the secondary dispersed solution processed in an ultrasonic reactor.
q) Ultrasonic reactor D-80, manufactured by STC TECHNOSONIK.
r) Supply pipeline for the secondary emulsion treated in an ultrasonic reactor for spraying with the KORTING ejector.
s) Pump ESPA Tecnopres 15 4M for supplying secondary emulsion for processing in an ultrasonic reactor.
t) Pump support. Sphere structure.
u) FG-200. 22 installation nozzl 22. Compressed hydrogen cylinders.
v) Tank for replenishment of spring or melt water. 2
w) Well submersible pump made of stainless steel SPERONI SCM 4F for pumping water from a tank into a reaction system.
x) Hydrogen reducer.
y) Level switch for controlling the solenoid valve for making up water in the reaction chamber.
z) Safety valve (Figure 2).
Assessment for the Selection of Technological Equipment
(The item number of the equipment is indicated by the legend in Figure 3)
Figure 3: Note*: 1 - cable 2 - converter 3 - emitter 4 - working chamber 5 - inlet nozzle 6 - outlet nozzle
Ultrasonic Reactor D-80
Ultrasonic (acoustic reactor is designed for the preparation of stable emulsions during cavitation treatment of liquid media by exposure to high-intensity ultrasonic cavitation fields in them. The operation of the reactor is based on the excitation of ultrasonic cavitation in a thin layer, pumped through the reactor of the processed liquid (Figure 3).
From the ultrasonic generator, the ultrasonic frequency voltage is fed to the ultrasonic transducer pos.
i. which converts the high-frequency voltage into mechanical vibrations of the ultrasonic frequency. These vibrations are transmitted to the emitter. Which contains a concentrator pos.
ii. By means of which high-frequency vibrations are amplified and can be up to 100 microns or more at the output of the emitter pos.
iii. When the oscillator vibrates with an ultrasonic frequency in the emulsion processed in the reactor, alternations of compressions and stretches occur, which create an additional pressure change in it relative to the constant static pressure in this medium. As a result, an effect, closely related to sound pressure, is observed, called ultrasonic cavitation with the formation of vapor-gas (cavitation) cavities in the phase of negative sound pressure of acoustic fluctuations of ultrasonic frequency, followed by their collapse in the phase of positive sound pressure with the formation of shock waves. The process of generating fluctuations of a certain frequency is carried out by inducing the technological parameters of the used equipment in the ultrasonic reactor and is characterized by three stages of the cavitation pocket development (Figure 4,5).
a) At the first stage, the cavitation pocket expands at the site of the initial vapor-gas nucleus.
b) At the second stage, the resulting cavitation pocket collapses (compression phase). In this case, the vapor-gas mixture in the cavity is compressed to a pressure of 3000 atm., and a temperature of 6000 degrees Kelvin.
c) In the third stage, the process of cavity re-expansion begins as the vapor-gas mixture, compressed to several thousand atmospheres, causes the cavity to expand rapidly at a velocity of 250 m/s, which leads to a point explosion. With the secondary expansion of the cavitation pocket, the energy of the compressed gas (potential energy) is transferred back into the liquid. When choosing ultrasonic reactors, in order to generate a critical value for induction of resonance with the biological essence of a certain vibration frequency value, it is necessary to take into account that the efficiency of cavitation _or a critical value is achieved when the static pressure reaches 40% of the amplitude of the sound pressure.
The main task that the ultrasonic reactor must perform is to create conditions for the dissociation of Н2О molecules into hydrogen and hydroxyl free radicals inside the cavitation pocket, which, due to recombination, generate electronically excited states of Н2О molecules in aqueous emulsions. Ultrasound can cause the rupture of chemical bonds of macromolecules, resonating in frequency with the oscillation frequency of the reactor, disrupt the strength of cell membranes with the subsequent destruction of cells, as well as initiate radical chemical processes, up to the birth of any chemical elements, using the theory of sets of fractals. Ultrasonic disintegration of cells, at present, has become widespread in scientific experiments in biochemical and virological studies of the possibilities for treating diseases. However, the purpose of the author and presented work is to use the technical and technological capabilities of aqueous emulsions cavitation in creating resonant values of vibration frequencies and bringing them into the human body by a natural method of introduction. To increase the power of the D-80 design reactors, they can be connected in se.
Korting Ejector
In the design of the chamber for preparing the working emulsion, the ejector Korting is used, which mixes a gas mixture of air and hydrogen with a primary water emulsion. The ejector operates according to the following principle: the working medium (gas mixture and primary emulsion, or water) enters the working nozzle, the flow cross section changes and the pressure of the medium decreases, and the flow rate increases, a zone of the lowest static pressure is located immediately behind the working nozzle. At this point, the medium to be drawn in enters the ejector and is mixed with the flow of the working medium. It is sufficient to pre-compress the gas mixture to hydrostatic pressure for efficient operation of the ejector (that is, the pressure of the incoming water by gravity) and supply it to the suction side of the ejector. (In our case, from above). Mixing with a compressed gas mixture in an ejector, in this case, requires a very low pressure of the working fluid. However, the amount of gas mixture in the emulsion at the outlet of the ejector increases (Figure 6,7).
Thus, the jet of the working fluid scatters the hydrogen-air mixture into countless nano-bubbles, which mix with the working flow in the mixing zone. This hydrogen-air water mixture is pumped into the chamber volume, while maintaining developed cavitation cavities, in which the processes of three stages of development continue, due to residual ultrasonic disturbances. In general, the oscillation frequency is induced in the secondary emulsion, due to the value of the theory of sets, the execution of ultrasonic effects of the fractal essence.
Amplifier of Air Flow, with Exair Flow Force Regulator
For the purpose of injecting a gas flow, consisting of compressed hydrogen and ambient air, an air flow amplifier EXAIR is used in the mixing ejector Corting in technological scheme of the emulsion preparation. Using the Coanda effect, based on the fluidics principle, air amplifiers are simple and inexpensive to circulate and supply air mixtures. In our case, using a small amount of compressed hydrogen as a power source, the air amplifiers draw in large volumes of ambient air to produce large volumes of gas mixture in the form of high-speed exhaust flows through a fixed air gap. Air amplifiers can generate output flows 25 times their flow rate (in our case, hydrogen). By regulating the hydrogen pressure with a gas reducer, we can create the concentration of the output flow necessary to design the technological process to saturate the emulsion (Figure 8,9).
The compressed hydrogen flows through the gas collector
i. Into the annular chamber
ii. Then it is throttled through a small annular nozzle
iii. at high speed.
iv. This primary hydrogen flow follows the COANDA profile, which directs it towards the outlet. A low-pressure area is created in the center.
causing a large volumetric flow of ambient air into the primary hydrogen flow. The combined flow of primary gas flow (hydrogen) and ambient air comes out of the air amplifier in a large volume at high velocity.
Device for Magnetic Treatment of Liquids (Patent RU 2136606)
In order to maintain the electronically excited state of H2O molecules in the water structure of the human body, including in the blood water flow, the magnetic activation of drinking water is provided in the reaction chamber scheme, which, in addition to emulsion inhalation, is accepted by the client while in the treatment block. A device for magnetic treatment of liquids with a controlled rectifier is used for this purpose. The device has been tested under laboratory and production conditions. However, adaptation and scaling are required for use in the structure of vital functioning of the human body. The device consists of an outlet pipe (1), three-phase windings 2,3, stationary rotor 4, housing 5, magnetic stator 6, inlet pipe 7, sealed chamber 8, non-magnetic spiral 9, cathode group of diodes 10, anode group of diodes 11, switch 12 (Figure 10).
The device operates using three possible mechanisms of magnetic ionization of water, discovered by the authors, under conditions of uniform distribution of the magnetic field energy, as well as with various methods of induction of resonance of the electromagnetic processes, for example, when obtaining a criterion for a system in which r mр Э п =5.8х10-5 m2/s, and interference of magnetic coherent waves. (see: Sidorov E. P. Physical role of hydrogen recuperation in vital functioning of a human body UNIVERSUM: Chemistry and Biology. Release: 12(78) December 2020). These mechanisms can act both separately and together, providing a cumulative effect. The most effective is the resonance of electromagnetic processes.
Installation of Emulsion Water Mist ULTRA FOG FG-200
In order to generate the aerosol state of the emulsion prepared in the reaction chamber, installations of mist generation systems are used for inhalation (Figure 11).
The mist generation system works according to the following principle: Water under pressure is supplied through hoses to the nozzles (in our case, to 50 nozzles), where water droplets are sprayed to the size of microparticles. The effect of “lightning-fast evaporation” is manifested. Due to this effect, there is a humidification and a decrease in the temperature of the air-gas mixture of the surrounding air and, at the same time, saturation of it with the components of the emulsion fog. According to therapeutic indications, the temperature of the air-gas mixture should be 7 degrees Celsius. According to the experience of the FG-200 system manufacturers, its operation can reduce the ambient temperature by 8-10 degrees. Aerosol droplets can be 5 microns in diameter. Such a drop is dissolved in air and precipitates. The block is designed with a condensate drainage syst [3-20].
Appendices
(Figures 12,13,14,15,16,17,18).
Acknowledgement
None.
Conflict of Interest
None.
References
- Kulin ET, Kulak IO Natural electret state of water clusters. Ionic dipoles of water. Ionic theory of electrets. Blog Evgeny Kulin. - USA, Hayward.
- Kanarev FM (1997) Basics of the microworld's physical chemistry. Water and its ions. - MOO "Science and engineering".
- A B Aleksandrov (1998) Development of theoretical foundations and technical means of magnetic activation for irrigation water: Author's abstract. … PhD. in Eng. – Krasnodar.
- Aleksandrov BL, Aleksandrov AB, Krasavtsev BE (2012) Experimental and theoretical substantiation of electromagnetic field effects on water. Kuban State Agrarian University.
- Britikov N A (2016) Electromagnetic radiation from rocks warn. Mining industry.
- Bukreev VS Para- and ortho-water.
- Valuev NP (2015) Problems of the hydrogen atom theory and the photonic interaction of an electron and a proton. - M.: Academy of Civil Defense of the Ministry of Emergency Situations.
- Great Epoch (2010) Unexplained Natural Phenomena: Wonderful Water in the Center of Germany. Epoch Times. Science and engineering.
- Dvornik AA Quanta and photons.
- Zarembo VI, Zarembo DV (2018) Influence of stochastic resonance on the metallic activity of bacteria. - St. Petersburg State Technological Institute.
- Calvin S, Carter (2020) Exposure to static magnetic and electric fields treats type 2 diabetes. Cele Metabolism 32(4): 561-574.
- Lines B. The Cancer Cure That Worked. Fifty Years of Suppression. Bio Med.
- Makogon YF (1974) Natural gas hydrates.
- Perfiliev MS (2021) Mathematical modeling of micro-fluctuations of the degree of ionicity of chemical bonds in a binary molecule. Universum. Chemistry and Biology (82)4.
- Sidorov EP (2020) Nature of the vital activity of the virus in the concepts of modern physics. XVIII International Correspondence scientific specialized conference. Boston.
- Sidorov EP (2020) Physical nature of blood movement at the level of the micro and macro world. Internauka. M 4(133). Part 2.
- Sidorov EP (2020) Physical role of hydrogen recovery in human life. Universum. Chemistry and Biology 12(78).
- Sidorov EP (2020) Energy mechanism of the human body functioning. Scientific Forum. Innovative science. M2(3).
- Tsvetkova EF (2012) Interaction of electromagnetic fields with human biofield. Problems of Physics, Mathematics and Engineering. 1(10).
- Shadrin AA (2019) Structure of the Universe. Part 1. Microcosm. Part 2. Macrocosm–Ridero 734.

















We use cookies to ensure you get the best experience on our website.